电动调节蝶阀
- 销售:021-32051999
- 销售:021-32050777
- 传真:021-66099555
详情介绍
- 产品介绍
- 服务承诺
- 订货流程
电动调节蝶阀以220V AC电源为动力,接受0~10mA或4~20mA标准信号,驱使阀门开度与此操作信号相对应,达到调节介质压力、流量、温度之目的,结构简单,操作方便。阀板为椭圆斜关结构,泄漏量小。适用于大口径、大流量场合。由于有自清洗作用,所以特别适用于通风系统和含有悬浮颗粒介质的调节。
该蝶阀与电动执行机构配套使用,能对冶金、电力、石化、轻仿、建材、环保工业管路中各种液体、气体、尘气、烟气等介质通过不同的控制信号改变流量大小,从而实现工业过程的自动调节和远距离控制。
电动调节蝶阀 主要技术参数
公称通径mm | 50 | 80 | 100 | 125 | 150 | 200 | 250 | 300 | 350 | 400 | 450 | 500 | 600 | 700 | 800 | 900 | 1000 |
额定流量系数Kv | 85 | 220 | 340 | 530 | 770 | 1360 | 2310 | 3060 | 4160 | 5450 | 6900 | 8500 | 12200 | 16600 | 21700 | 27100 | 34000 |
公称压力MPa | 0.1 | ||||||||||||||||
允许压差MPa | 0.6 | 0.5 | 0.25 | 0.14 | 0.06 | 0.032 | 0.046 | 0.029 | 0.02 | 0.033 | 0.024 | 0.014 | 0.009 | 0.016 | 0.011 | 0.008 | |
阀板转角 | 0~70° | ||||||||||||||||
流量特性 | 近似等百分比 | ||||||||||||||||
阀颈型式 | 普通式(常温型);热片式(中温型) | ||||||||||||||||
介质温度℃ | 铸铁:-20~+200;铸钢:-40~+250(常温型); -40~+450(中温型) | ||||||||||||||||
法兰标准 | 法兰连接:JB81-59 | ||||||||||||||||
注:1. 表列许用压差为阀板70°全开时的值,小于70°使用时,△P为会提高。
2. 如欲高于表列许用压差可选配大一档执行机构。
电动调节蝶阀 性能指标
项目 | 指标值 | 项目 | 指标值 |
基本误差% | ≤±3.5 | 始终点偏差% | ≤±3.0 |
回差% | ≤3.0 | 额定转角偏差% | ≤±3 |
死区% | ≤3.0 | 允许泄漏量L/h | 0.5%×阀额定容量 |
电动调节蝶阀 主要零件材料
阀体、阀板 | 不锈钢SUS304 | -250~+550℃ |
阀杆 | 不锈钢SUS316L | |
填料 | 柔性石墨 | -200~+600℃ |

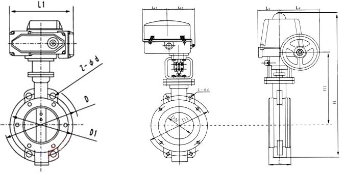
电动调节蝶阀 主要外形尺寸
公称通经(DN) | 主要尺寸 | 法兰尺寸 | |||||||||||||
L | L1/L2 | H | H1 | A | 1.0MPa | 1.6MPa | 2.5MPa | ||||||||
硬密封 | 软密封 | D | D1 | n-Фd | D | D1 | n-Фd | D | D1 | n-Фd | |||||
50 | 108 | 43 | 112 | 63 | 625 | 245 | 165 | 125 | 4-18 | 165 | 125 | 4-18 | 165 | 125 | 4-18 |
65 | 112 | 46 | 115 | 70 | 625 | 245 | 185 | 145 | 4-18 | 185 | 145 | 4-18 | 185 | 145 | 8-18 |
80 | 114 | 46 | 120 | 83 | 645 | 245 | 200 | 160 | 4-18 | 200 | 160 | 8-18 | 200 | 160 | 8-18 |
100 | 127 | 52 | 138 | 105 | 675 | 355 | 220 | 180 | 8-18 | 220 | 180 | 8-18 | 235 | 190 | 8-22 |
125 | 140 | 56 | 164 | 115 | 715 | 355 | 250 | 210 | 8-18 | 250 | 210 | 8-18 | 270 | 220 | 8-26 |
150 | 140 | 56 | 175 | 137 | 800 | 355 | 285 | 240 | 8-22 | 285 | 240 | 8-22 | 300 | 250 | 8-26 |
200 | 152 | 60 | 200 | 164 | 850 | 250 | 340 | 295 | 8-22 | 340 | 295 | 12-22 | 360 | 310 | 12-26 |
250 | 165 | 68 | 243 | 206 | 925 | 250 | 395 | 350 | 12-22 | 405 | 355 | 12-26 | 425 | 370 | 12-30 |
300 | 178 | 78 | 250 | 230 | 1035 | 450 | 445 | 400 | 12-22 | 460 | 410 | 12-26 | 485 | 430 | 16-30 |
350 | 190 | 78 | 280 | 248 | 1070 | 450 | 505 | 460 | 16-22 | 520 | 470 | 12-26 | 555 | 490 | 16-33 |
400 | 216 | 102 | 305 | 289 | 1190 | 450 | 565 | 515 | 16-26 | 580 | 525 | 16-26 | 620 | 550 | 16-36 |
450 | 222 | 114 | 350 | 320 | 1250 | 650 | 615 | 565 | 20-26 | 640 | 585 | 16-30 | 670 | 600 | 20-36 |
500 | 229 | 127 | 380 | 343 | 1290 | 650 | 670 | 620 | 20-26 | 715 | 650 | 20-30 | 730 | 660 | 20-36 |
600 | 267 | 154 | 445 | 413 | 1455 | 850 | 780 | 725 | 20-30 | 840 | 770 | 20-33 | 845 | 770 | 20-39 |
700 | 292 | 165 | 480 | 478 | 1585 | 850 | 895 | 840 | 24-30 | 910 | 840 | 24-36 | 960 | 875 | 24-42 |
800 | 318 | 190 | 530 | 525 | 1700 | 1250 | 1015 | 950 | 24-33 | 1025 | 950 | 24-39 | 1085 | 990 | 24-48 |
900 | 330 | 203 | 580 | 585 | 1965 | 1250 | 1115 | 1050 | 28-33 | 1125 | 1050 | 28-39 | 1185 | 1090 | 28-48 |
1000 | 410 | 216 | 650 | 640 | 2015 | 1250 | 1230 | 1160 | 28-36 | 1255 | 1170 | 28-42 | 1320 | 1210 | 28-56 |
1200 | 470 | 254 | 760 | 755 | 2250 | 1250 | 1455 | 1380 | 32-39 | 1485 | 1390 | 32-48 | 1530 | 1420 | 32-56 |
良好的品质、优良的服务 奇高为你创造更多价值!
“奇高阀门”的期望,不断提升服务质量,精益求精,“真诚的服务”是“奇高”永恒的主题。“奇高”严格按照IS09001-2000 质量体系认证要求,质量严格把关, 责任到人,确保生产、销售、服务的健康运行。加强与用户沟通,竭诚为广大客户提供优良产品,贴心服务。特此我厂做出以下承诺:
产品标准:
产品严格按照中国GB、HG 标准和美国API等标准设计、制造、验收。密封面硬度达到国家规定要求,宽度超过国家标准。
售前服务:
产品介绍,技术交流,非标产品设计,疑难解答。
售中服务:
守信合同,及时供货,随时保持与客户联系。 对特殊或复制的产品,我厂安排技术人员对用户进行产品使用、故障排除
售后服务:
1、“奇高”牌产品品质期为自出厂起12个月,实行“三包”服务(包退、包换、保修)。
2、产品在使用中我厂定期组织技术、质检人员进行访问,征询用户对产品质量、 使用状况、改进意见等方面的反馈, 以便进一步提高产品质量。
3、对用户投诉质量问题,快速作出反应,售后服务人员在24-36小时(省外48小时)赶赴现场。
4、对售后服务,要求用户填写服务后的质量反馈信息表,并作出鉴定意见,以便提高奇高的服务质量。
1、客户如对产品有特殊要求,须在订货合同中提供以下说明:
a、结构长度;
b、连接形式;
c、公称直径、全通径、缩径、管道尺寸;
d、运行介质及温度、压力范围;
e、试验、检验标准及其他要求
2、本厂可根据客户特定要求配置各类驱动装置。
3、如由客户提供确定的阀门类型和型号时,客户应正确说明其型号的含义和要求,在供需双方理解一致的条件下签订合同。
4、期货、订货的客户请先来电函详细告诉所需的阀门型号、规格、数量以及交货时间、地点,并按总的30%预定金或全额货款及时汇入我厂帐户,其余货款待发货前汇入,以便及时安排发货。
订单流程:
1、客户采购清单传真至021-33872143,或来电咨询 021-33872141
2、收到客户采购清单,为客户提供阀门型号选型与报价(价格清单)。
3、具体商定:交货期、特殊要求等事宜。
订货须知:
1、客户如对产品有特殊要求,须在订货合同中提供以下说明:
|
|||||
|
|||||
2、本厂可根据客户特定要求配置各类驱动装置。
|
|||||
3、如由客户提供确定的阀门类型和型号时,客户应正确说明其型号的含义和要求,在供需双方理解一致的条件下签订合同。
|
|||||
4、期货、订货的客户请先来电函详细告诉所需的阀门型号、规格、数量以及交货时间、地点,并按总的30%预定金或全额货款及时汇入我厂账户, 其余货款待发货前汇入,以便及时安排发货。
|
售中服务:
守信合同,及时供货,随时保持与客户联系。
对特殊或复制的产品,我厂安排技术人员对用户进行产品使用、故障排除
售后服务:
1、“奇高”产品品质期为自出厂起12个月,实行“三包”服务(包退、包换、保修)。
2、产品在使用中我厂定期组织技术、质检人员进行访问,征询用户对产品质量、使用状况、改进意见等方面的反馈,
以便进一步提高产品质量。
3、对用户投诉质量问题,快速作出反应,售后服务人员在24-36小时(省外48小时)赶赴现场。
4、对售后服务,要求用户填写服务后的质量反馈信息表,并作出鉴定意见,以便提高“奇高”的服务质量。
声明 |
|